直接レーザ干渉パターニング(DLIP)は、レーザーの干渉縞で加工材料表面にナノ周期構造を形成し、撥水、防曇、抗菌、摩擦低減、光制御吸収、アンチアイシングなどの機能を付与します。
DLW、LIPSS等と比較して加工スピードやパターン均一性に優れています。

高出力ファイバ/ディスクレーザは、QBHやQD(LLK)と呼ばれるコネクタが出射端となっています。レーザをコリメータや加工ヘッドなどに接続する際には、これら雄のコネクタを接続する雌のコネクタ(レセプタクル)が必要です。
当社では各種レセプタクルを取り揃えています。
| QBHパネルマウント | QBHコリメータ用 | QDパネルマウント | QDコリメータ用 | |
|---|---|---|---|---|
| 最大レーザパワー | 15kW | 30kW | ||
| ポインティングエラー | <3mrad | |||
| インターロック | フリーまたはショートワイヤー | 温度プロテクションスイッチ | フリーまたはショートワイヤー | 温度プロテクションスイッチ |
| 温度プロテクション | ー | 70℃±5℃ | ー | 70℃±5℃ |
| 使用温度 | 5~50℃ | |||
| 使用湿度 | <90% RH 結露無きこと | |||
| 保存温度 | -20~70℃ | |||
※FCH16(HLC16用)もございます。お問い合わせください。
| 1157975 | 1148911 | 1160642 | |
|---|---|---|---|
| 長さ | 50mm | 59.3mm | 56mm |
| 最大直径 | 54mm | 43mm | 40mm |
| 重量 | 0.34kg | 0.36kg | 0.23kg |
| 1149153 | 1149152 | 1150159 | |
|---|---|---|---|
| 長さ | 49.6mm | 49.6mm | 59mm |
| 最大直径 | 54mm | 54mm | 53mm |
| 重量 | 0.46kg | 0.46kg | 0.62kg |
モデル:1148911

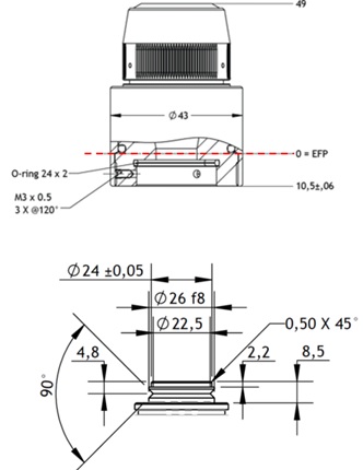
モデル:1157975

モデル:1160642

モデル:1150159

モデル:1150159
